Unitalen Attorneys at Law
   
上一期 | 总第565期(2016.05.07-2016.05.13)
 
 
 
 
 
 
 
  当前位置:首页 论坛博览 正文
     
 
 
从一复审案例浅析如何答辩“容易想到”和“常规技术手段”
文/集佳知识产权代理有限公司 赵秀芹
 

  【摘要】本文结合一复审案例,根据合议组下发的复审决定书中有关区别技术特征是否为本领域技术人员容易想到的技术特征和区别技术特征是否为本领域的常规技术手段的阐述,探讨申请人或代理人在实际工作中如何答辩审查员下发的技术特征为“容易想到”和“常规技术手段”的审查意见。

  关键词创造性、容易想到、常规技术手段、技术启示

  一、引言

  在审查员下发的一些审查意见中,往往以本领域技术人员很容易想到区别技术特征或者区别技术特征为本领域的常规技术手段为由,而认为权利要求不具备创造性。

  而由于在《审查指南》中,对“容易想到”和“常规技术手段”没有明确的解释和说明,其本身带有很多的人为主观因素,且没有客观证据,致使申请人或代理人针对此类审查意见很难找到比较有利的答复点。

  本文将结合一复审案例探讨如何答辩审查员下发的“容易想到”和“常规技术手段”的审查意见。

  二、案情简介

  本文涉及的案件,其专利申请号为201110061456.5、发明名称为《MEMS压力传感器及其制作方法》,在实审阶段,审查员下发了四次审查意见,申请人对这四次审查意见进行了详细答复,但最终以修改超范围以及区别技术特征很容易想到和为本领域的常规技术手段为由,于2014年12月29日下发了驳回决定。

  申请人不服上述驳回决定,于2015年4月09日提出了复审请求,在复审请求中,申请人仅对权利要求书做了克服修改超范围的缺陷的修改,未对权利要求书做克服没有创造性缺陷的修改,在复审请求附页中做了不认同审查员的技术特征比对的意见以及区别技术特征对于本领域技术人员不容易想到或不属于本领域的常规技术手段的意见陈述。

  复审委以复审请求中提交的文本以及复审请求附页为审查基础,于2015年12月25日下发了撤销驳回决定的复审决定书。

  三、案例分析

  本文仅对本案件的权利要求1的创造性方面进行详细分析。

  驳回决定中引用了如下对比文件:

  对比文件1:CN186588A;

  对比文件2:CN101082525A;

  对比文件3:CN101171665A。

  驳回决定所针对的权利要求1文本如下:

  1、一种MEMS压力传感器,其特征在于,包括:

  第一衬底,具有压阻式压力传感单元、电连线扩散层和所述第一衬底表面的第一粘合层;所述压阻式压力传感单元包括感应薄膜,所述感应薄膜中具有多个电阻构成的惠斯顿电阻桥;所述第一衬底的背面具有开口,该开口将所述感应薄膜暴露于大气中;

  第二衬底,具有导体间介质层、位于所述导体间介质层中的导体连线层和所述第二衬底表面的第二粘合层;所述第二衬底还包括信号处理电路,所述信号处理电路的上方为导体间介质层和导体连线层;

  其中,所述第二衬底与第一衬底相对设置,通过第一粘合层和第二粘合层固定连接,所述第一粘合层与第二粘合层的图案对应并且均为导电材料;

  所述MEMS压力传感器还包括参考压力腔,所述参考压力腔位于感应薄膜与第二衬底之间。

  审查员在驳回决定中主要认为:对比文件1中的硅底座圆片12相当于本申请权利要求1的第二衬底,对比文件1中的金属层相当于本申请权利要求1的导体连线层。权利要求1与对比文件1的区别在于:(1)所述第二衬底表面还具有第二粘合层,且通过第一衬底表面的第一粘合层和所述第二粘合层将第一衬底和第二衬底固定连接,所述第一粘合层与第二粘合层的图案对应并且均为导电材料;此外,所述第二衬底还包括信号处理电路,所述信号处理电路的上方为导体间介质层和导体连线层;(2)将所述压阻式压力传感器单元包括的引压腔设置为参考压力腔。

  对于区别技术特征(1),审查员认为在对比文件3的启示下,该技术特征是本领域技术人员很容易想到的,对于区别技术特征(2),其属于本领域的常规设计。因此,权利要求1不具备创造性。

  针对上述驳回决定,在复审请求中,复审请求人未修改权利要求1的技术方案。因此,复审请求书提交的权利要求1文本与驳回决定针对的权利要求1文本相同。

  下面结合本申请的复审请求附页的意见陈述以及合议组下发的《复审决定书》的复审决定,分析可以从以下几个方面答辩“容易想到”和“惯用技术手段”:

  1、指出审查员的事实认定错误:

  需要说明,并不是所有审查意见中的事实认定均存在错误,有时审查意见中的事实认定并没有问题。但是,复审请求人在分析审查意见时,首先要认真比对技术特征,再确定审查意见中的事实认定是否正确。当事实认定不正确时,指出事实认定错误之处,并给出正确的事实认定。

  针对本复审案例,在复审请求中,复审请求人不认同审查员的以下审查意见:对比文件1中的硅底座圆片相当于权利要求1中的第二衬底,并具体陈述了理由:

  复审请求人认为,在本申请权利要求1中,第二衬底是构成压力传感器本身的一部分,其相当于MEMS压力传感器的集成电路芯片。而在对比文件1中,硅底座圆片12是用于封装传感器圆片的封装结构,而非构成压力传感器本身的一部分,同时在对比文件1中也没有明确记载硅底座圆片12的具体结构。

  合议组认同复审请求人的上述陈述,并且指出,对比文件1实施例1仅记载了:硅底座圆片12用于提供用以比较压差的第一压力入口以及将压力传感器圆片11得到的电信号通过焊接凸点14向外输出。因此,对比文件1中也没有给出硅底座圆片12可以实现信号处理相关功能的技术启示。因此,对比文件1中的硅底座圆片12仅是用于封装的衬底,不能相当于本申请构成MEMS压力传感器一部分的第二衬底。

  此外,合议组在《复审决定书》中还明确指出,对比文件1中的金属层24不相当于本申请的导体连线层,具体理由如下:

  根据本申请权利要求1的描述可知,导体连线层位于导体间介质层中,信号处理电路的上方,导体连线层的作用是用于将第一衬底中压力传感器的信号传送至第二衬底中的信号处理电路。

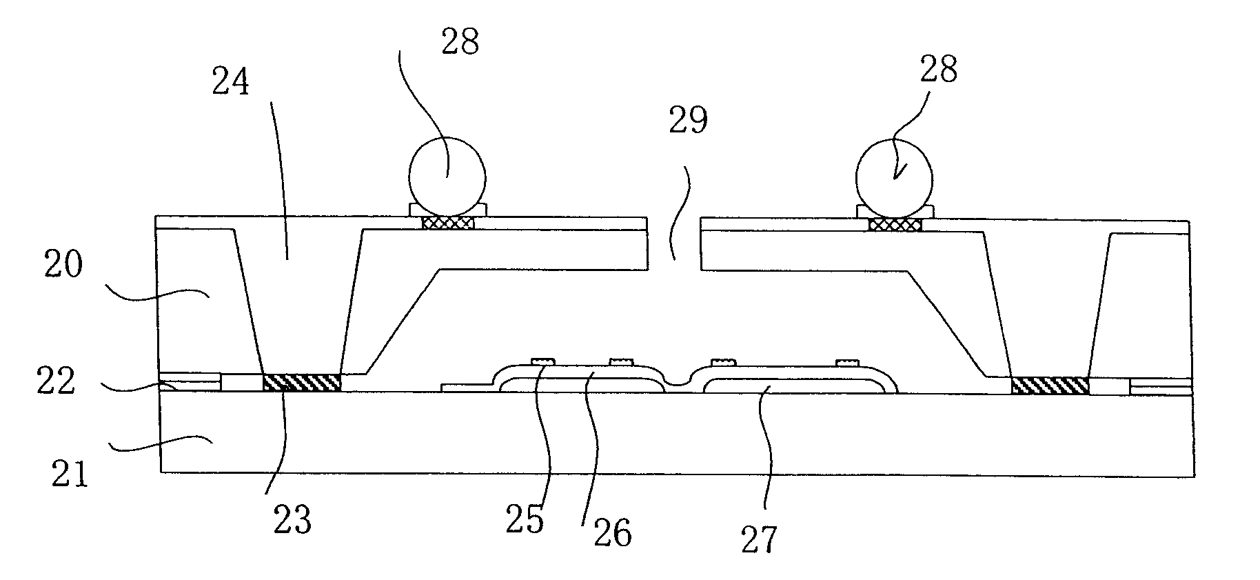
  而根据对比文件1图2(下图I)可以看出,金属层24直接裸露与整个芯片外部,其与焊接凸点28电连接,并不位于某种介质之间;并且由于对比文件1中也没有公开信号处理电路,因此,金属层24也必然不位于信号处理电路的上方。因此,对比文件1中的金属层24与本申请第二衬底的导体连线层的位置不同,其次,对比文件1中金属层24的作用是用于将压力传感器的信号向MEMS的外部传送,而不是用于将压力传感器的信号传送至MEMS内部某一衬底中的信号处理电路。所以,两者的作用也不同,因此,对比文件1中的金属层24不相当于本申请权利要求1中导体连线层。

图I

  2、基于正确的技术事实认定,重新确定区别技术特征:

  具体到本案来说,合议组认为权利要求1相对于对比文件1的区别技术特征如下:(1)第一衬底包括电连线扩散层和所述第一衬底表面的第一粘合层;2)第二衬底,具有导体间介质层、位于所述导体间介质层中的导体连线层和所述第二衬底表面的第二粘合层;所述第二衬底还包括信号处理电路,所述信号处理电路的上方为导体间介质层和导体连线层;3)第二衬底与第一衬底通过第一粘合层和第二粘合层固定连接,所述第一粘合层与第二粘合层的图案对应并且均为导电材料;4)所述第二衬底与第一衬底相对设置,所述参考压力腔位于感应薄膜与第二衬底之间。

  3、逐条分析上述每一区别技术特征是否显而易见:

  根据《审查指南》的第二部分第3.2.1.1(P173页)中记载可知:“是否显而易见”就是确定现有技术整体上是否存在某种技术启示。并且在《审查指南》第173页至第174页中指出,认为现有技术中存在技术启示的三种情况:

  (i)所述区别特征为公知常识,例如,本领域中解决该重新确定的技术问题的惯用手段,或教科书或者工具书等中披露的解决该重新确定的技术问题的技术手段;

  (ii)所述区别特征为与最接近的现有技术相关的技术手段,例如,同一份对比文件其它部分披露的技术手段,该技术手段在该其它部分所起的作用与该区别特征在要求保护的发明中为解决该重新决定的技术问题所起的作用相同;

  (iii)所述区别特征为另一份对比文件中披露的相关技术手段,该技术手段在该对比文件中所起的作用与该区别特征在要求保护的发明中为解决该重新确定的技术问题所起的作用相同。

  根据上述存在技术启示的三种情况,逐一分析上述区别技术特征:

  对于区别(1),对于本领域技术人员而言,为了使硅片中的信号引出,设置电连线扩散层是本领域的常规手段,此外,在对比文件1公开的压力传感器圆片金薄膜18与底座圆片12实现键合的信息基础上,本领域技术人员根据需要很容易想到将对比文件1中键合用的金薄膜改为粘合用的其它导电材料。因此,区别(1)属于本领域的惯用技术手段,对权利要求1的创造性没有贡献。

  对于区别(2),根据本领域的公知常识可知,MEMS通常需要由微结构、电路、封装三部分构成,其中对微结构作用产生的电信号必须要经过处理电路的调理放大,再通过封装通信接口才能向外传递至基板。可见MEMS压力传感器中必然需要设置信号处理电路,因此,虽然对比文件1中的硅底座圆片12不能相当于本申请的第二衬底,但是在MEMS压力传感器中设置第二衬底,且在第二衬底上设置信号处理电路均是本领域的常用技术手段。同时,为了引入压力传感器的信号,设置导体连线层;以及为了使电信号能够在需要的位置准确引入引出,设置导体间介质层,将导体连线层设置在介质层中也是本领域的常规手段。因此,该区别(2)对本申请权利要求1的创造性也没有贡献。

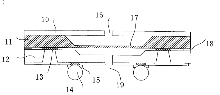
  对于区别(3),根据对比文件1和对比文件3公开的信息,本领域技术人员很容易想到该技术特征,而且对比文件1和3给出了将其用于对比文件1的技术启示。因此,该区别(3)对本申请权利要求1的创造性也没有贡献。 对于区别(4),对比文件1图1(参见以下附图II)已经公开了:差压的第一压力通过底座圆片12中心的压力入口19,作用在应变薄膜17上,差压的第二压力通过位于玻璃帽子圆片11中心的入口16作用在应变薄膜17,压力传感器输出为这两个压力之差。即对比文件1已经公开了:由入口19进入的腔体可作为由入口16进入的腔体的参考压力腔。

图II

  但是,权利要求1记载了“所述第二衬底与第一衬底相对设置,所述参考压力腔位于感应薄膜与第二衬底之间”,即本申请的技术方案是在相对设置的第一衬底和第二衬底之间形成参考压力腔。同时根据说明书的记载,通过在两个衬底对置设置的同时形成参考压力腔的这种制作方法,使得第一衬底可以减薄到很小的厚度,有效地减少了传感器的体积,降低了制作成本。

  而在对比文件1中并没有公开第二衬底,因此对比文件1并没有公开上述区别特征,且由于对比文件关注的是MEMS传感器的封装方法,因此,也没有给出应用上述区别技术特征的技术启示。

  此外,在本领域技术领域中,根据本领域技术人员掌握的技术知识,现有的MEMS压力传感器通常包括压力传感器圆片和信号处理圆片,其通常由两种安装结构形式,一种是将压力传感器圆片和信号处理集成电路圆片分立封装衬底的左右两侧,二者通过引线连接;另一种是将压力传感器圆片置于底座衬底之上,信号处理集成电路圆片置于底座衬底之下,二者通过封装衬底中的引线连接。其中,压力传感圆片需要具有能够提供参考压力的参考压力腔,将压力变化转变为电信号的感应薄膜,能够提供外界压力的有压力入口的衬底,因此,常用的压力传感圆片通常由三部分构成,蚀刻以形成参考压力腔的衬底,其上放置蚀刻后的感应薄膜,其上再放置具有压力入口且具有容纳感应薄膜的空腔的封装衬底,即类似对比文件1图2(上述图I)的结构。

  而如上所述,由于压力传感圆片必须通过一封装衬底与信号处理芯片相连,因此,即使将对比文件3公开的MEMS装置设置为压力传感器,本领域技术人员也不能确定该压力传感器可以省去封装衬底,设计为如本申请权利要求1的结构,即该空腔106可以为所述MEMS特征108提供参考压力值,因此,对比文件3没有给出应用上述区别技术特征4)的技术启示。

  另一方面,虽然设置第二衬底是本领域的常用技术手段,但是根据上面所述的本领域技术人员掌握的技术知识,在两种常用的MEMS压力传感器的结构中,都需要对压力传感器圆片进行蚀刻以形成可以作为参考压力腔的空腔。由于在现有技术的这两种结构中,压力传感器圆片(即第一衬底)都不是直接与信号处理圆片(即第二衬底)对置,因此,现有技术中并没有给出将两个衬底对置设置以形成参考压力腔的技术启示,所述参考压力腔也无法位于感应薄膜和第二衬底之间。因此,根据现有证据,无法证明“第二衬底与第一衬底相对设置,所述参考压力腔位于感应薄膜与第二衬底之间”是本领域的公知常识或常规技术手段,也没有证据能够表明在现有技术中存在上述启示。

  综上,对比文件1、2、3均没有公开上述区别特征(4),也没有给出采用上述区别特征的技术启示,同时目前也没有证据能够表明上述特征为本领域的公知常识。且通过以上技术手段,本申请达到了有效减少传感器体积,降低制作成本的技术效果,所以,权利要求1相对于对比文件1、2和/或3具有突出的实质性特点和显著的进步,具备创造性,符合专利法第22条第3款的规定。

  总结上述区别(4)是否显而易见的分析,其不仅与对比文件进行对比分析了技术特征本身,而且还从本领域的技术整体状况出发对区别(4)进行了评析,从而得出根据本领域的技术整体状况无法得出上述区别(4)显而易见的结论,从而得出权利要求1具备创造性的结论。

  另外,在分析区别特征是否显而易见时,有时为了保持技术特征之间的相互联系、协同作用,需要将多个区别特征结合起来形成一个整体来分析,鉴于篇幅的限制,本文针对该点的答辩不再详细举例说明。

  四、本案启示

  综合上述复审案例,本文认为:审查员在下发审查意见时,有时会根据自己的主观认知武断地、笼统地认为区别技术特征是“容易想到的”或为“本领域的常规技术手段”,这类的审查意见一般缺乏客观依据,因此,申请人或代理人在答复此类有关“容易想到”和“常规技术手段”的审查意见时,首先要认真比对分析审查意见中的技术特征比对是否正确,在确保技术特征比对正确的基础上,重新界定区别技术特征,然后再结合本领域的技术状况对区别技术特征是否显而易见进行分析,从而得出权利要求是否具备创造性的结论。

  以上为笔者的一家之言,难免有不当之处。笔者希望抛砖引玉,文中不妥之处,欢迎各位同行批评指正。